关于我们

陕西省西安市高新区科技二路

销售电话 : 181 0918 2006

顾问电话 : 181 9223 0651

客服电话 : 181 9223 0651

技术支持 : 2576802135

联系邮箱 : sales@qioa.cn

bg-img
建筑施工项目管理 建筑施工项目管理

建筑施工项目管理

从实现项目动态管控,对工期/投资/质量进行全面跟踪和动态预警,为项目决策人随时提供多方位的价值评估和风险分析

建筑施工项目管理 核心功能应用

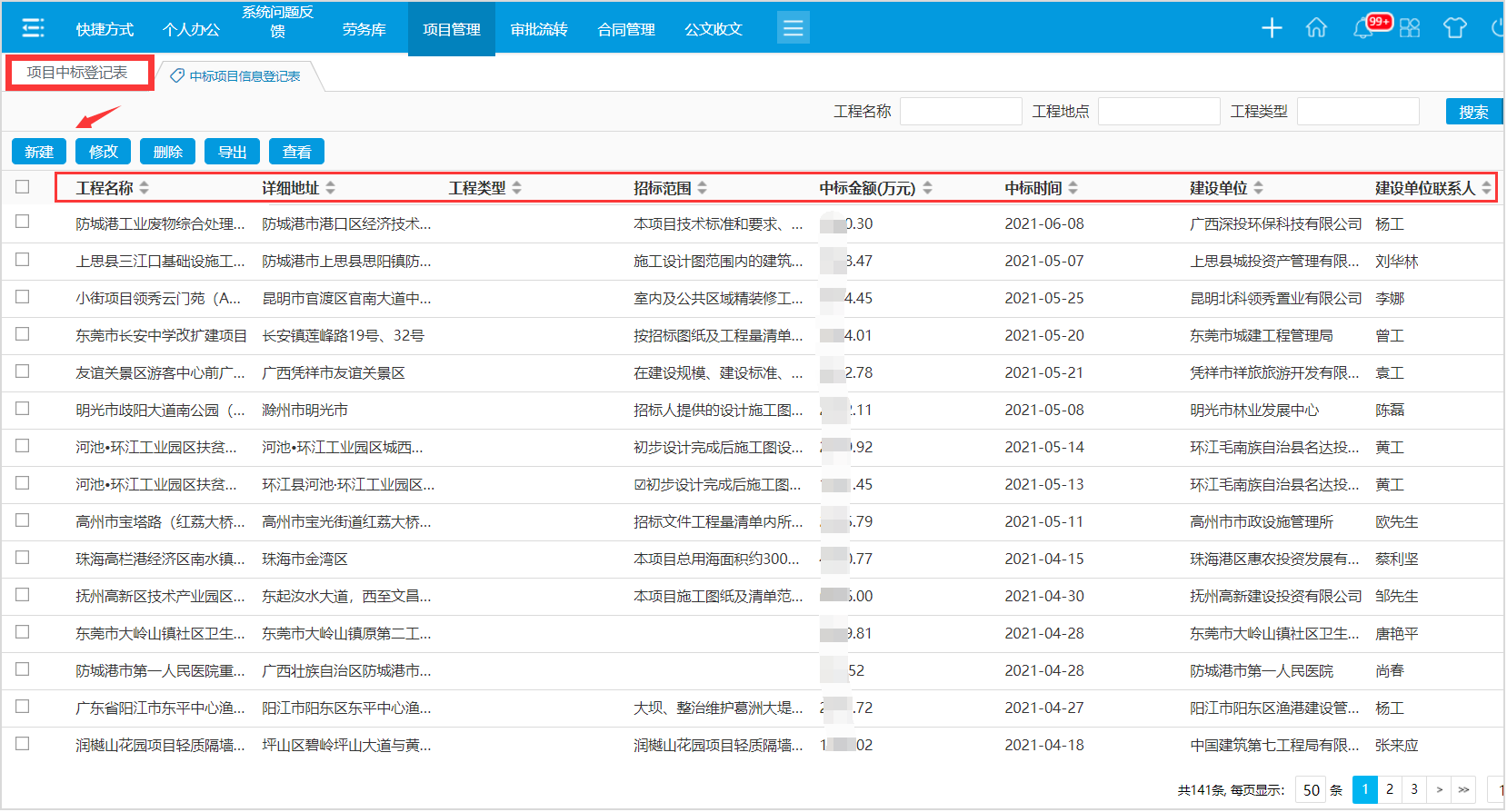
建筑施工投标管理

涵盖从搜集市场信息、信息立项并跟踪、招投标文件的购买、资格的内部审查、项目前期勘察的记录、投标预算文件的审核、投标保证金的支付与退还、竞争对手请款的分析、项目招待费的统计等功能。

s4.81ab4174.png

s5.87ab3ad7.png

选择华天动力协同软件

加速您的企业数字化转型

联系电话

181 0918 2006

在线留言

关注我们

weixin

TOP

提交您的需求,我们将尽快与您联系。

完善您的信息,我们专业团队为您提供服务!

公司名称 *

姓名/称呼 *

手机号码 *

电子邮箱 *

需求/留言 *