关于我们

陕西省西安市高新区科技二路

销售电话 : 181 0918 2006

顾问电话 : 181 9223 0651

客服电话 : 181 9223 0651

技术支持 : 2576802135

联系邮箱 : sales@qioa.cn

bg-img
房地产 房地产

房地产

让管理高度集中、数据高度共享、信息高度安全、信息可视化、流程透明化、动作标准化

房地产 核心功能应用

计划运营与绩效考核管理

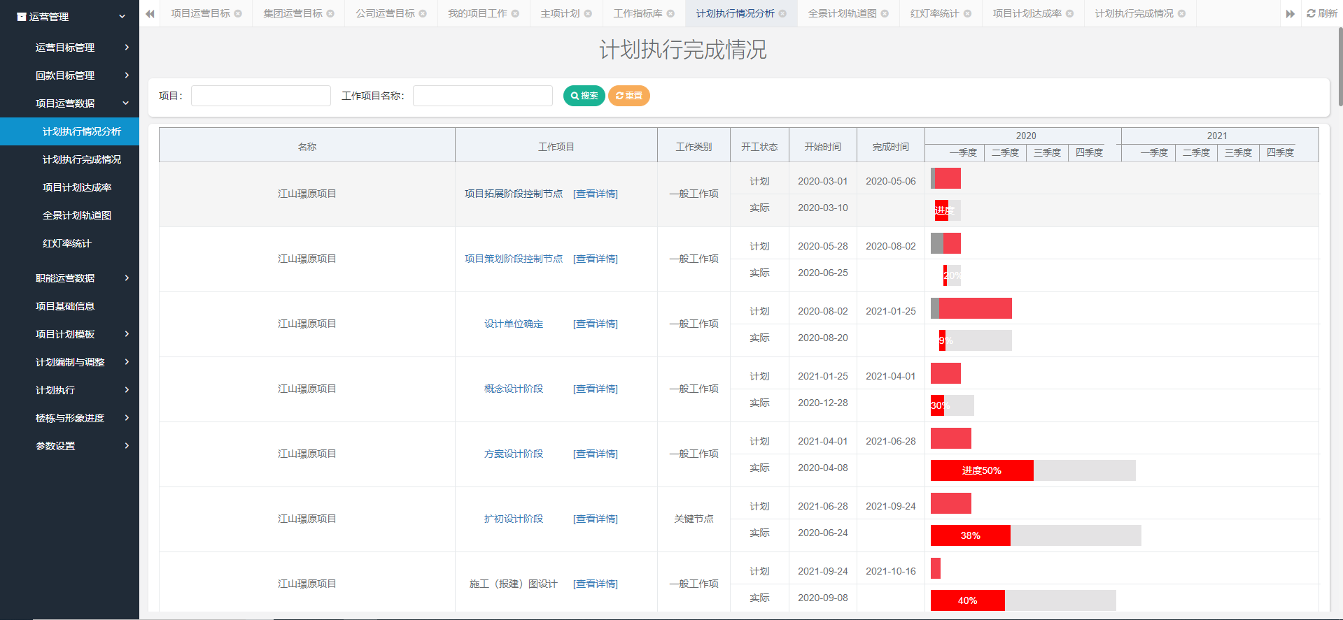
以项目计划编制——审核——执行汇报——分析——调整一—考核计划编制——绩效考核评分的PDCA全闭环控制模型为核心,以运营绩效为目标、以计划为主线、以成果为标志、以关键流程为支撑、以绩效为驱动,满足房地产集团企业的“项目开发计划+公司职能计划”双线管理,全面实现了对前期进度、工程进度和形象进度的精细化过程控制,从而更有效地实现对项目全方位的事前和事中管控,提升项目管理水平。

s1.6ddd1b8d.png

s2.7fed7a2e.png

s3.16aafc83.png

s4.9b74528a.png

s5.a80d1db4.png

选择华天动力协同软件

加速您的企业数字化转型

联系电话

181 0918 2006

在线留言

关注我们

weixin

TOP

提交您的需求,我们将尽快与您联系。

完善您的信息,我们专业团队为您提供服务!

公司名称 *

姓名/称呼 *

手机号码 *

电子邮箱 *

需求/留言 *