
很快又到年中了,不少企业1年2次的绩效考核又要开始了。但是传统绩效考核存在不少的弊端:
注重目标忽视战略:设定绩效目标时与战略目标严重脱节;
注重目标忽视过程:良好的绩效结果离不来过程的监管和辅导;
注重考核缺乏激励:负激励多于正激励,员工看到扣分就抵制;
注重评分忽视数据:过多依靠上级评分,没有业绩数据做支撑;
注重奖罚忽视鼓励:简单粗暴奖勤罚懒,对过程中的问题未及时辅导和鼓励;
这样不免让绩效考核流于形式,还因为绩效考核过于严格化、随意化,不公正化让员⼯对绩效考核产⽣抵触情绪。而用华天动力协同OA系统科学化管理绩效,帮助企业解决企业组织的绩效管理、考核等难题,一站式解决绩效考评数据保存、透明、计算、分析等问题。由于其更科学、更透明、更高效、更公正而深受企业和员工所喜爱。

一、按需设置考核模板,避免笼统化
每个部门的工作性质不同,传统模式用一个模板来考量,大而笼统,不科学也不公平。但要设置多个考核标准,传统纸质考核又特别麻烦。
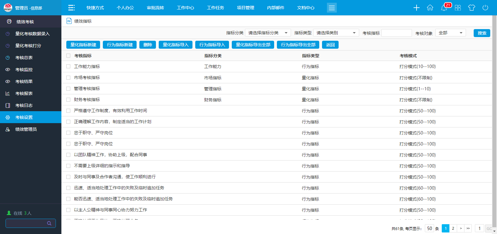
华天动力协同OA系统可以根据企业的实际需求,个性化定制每个部门的考核模板,对不同的考核项设定不同的权重,例如对于技术来说业务知识能力的权重就高,对于行政来说综合素质的权重就更高,按照岗位需求来考核是否合格,从而使绩效考核更加精准。

二、多维度多层级考核,避免片面化
传统绩效考核成绩与考核者主管意见有很⼤的关系,有的考核者给员⼯的绩效成绩⽐较⾼,⽽有的则⽐较低,这就造成了绩效考核的不公平,会让员⼯对绩效考核产⽣抵触情绪。
华天动力协同OA系统采用的是更加全面、客观的360度考核法。企业在华天动力协同OA系统建立好考核指标库后,设定合适的绩效考核表,就可以根据需求通过打分模式、选择模式或量化指标模式对员工进行考核。在考核时,通过同事评价、上级评价、下级评价、客户评价以及个人评价来评定绩效,系统会自动统计结果,简单易操作。

三、数字测评自动归档,避免不公正
华天动力协同OA系统整个考核流程都在线上进行,避免纸笔记录造成的人为修改,怕被看出笔迹而打人情分的现象。严格规范考试流程,考官和被考核人只需要按照步骤操作即可,简单公平透明,所有考核信息由OA系统自动记录、计算、汇总,时时汇总,归档节约了大量的时间和人力,同时也避免了人工统计照成的错误,使绩效考核可执行性变强。后期如果有员工提出申诉,电子调档查询也非常的方便。

四、自动统计数据报表,避免不客观
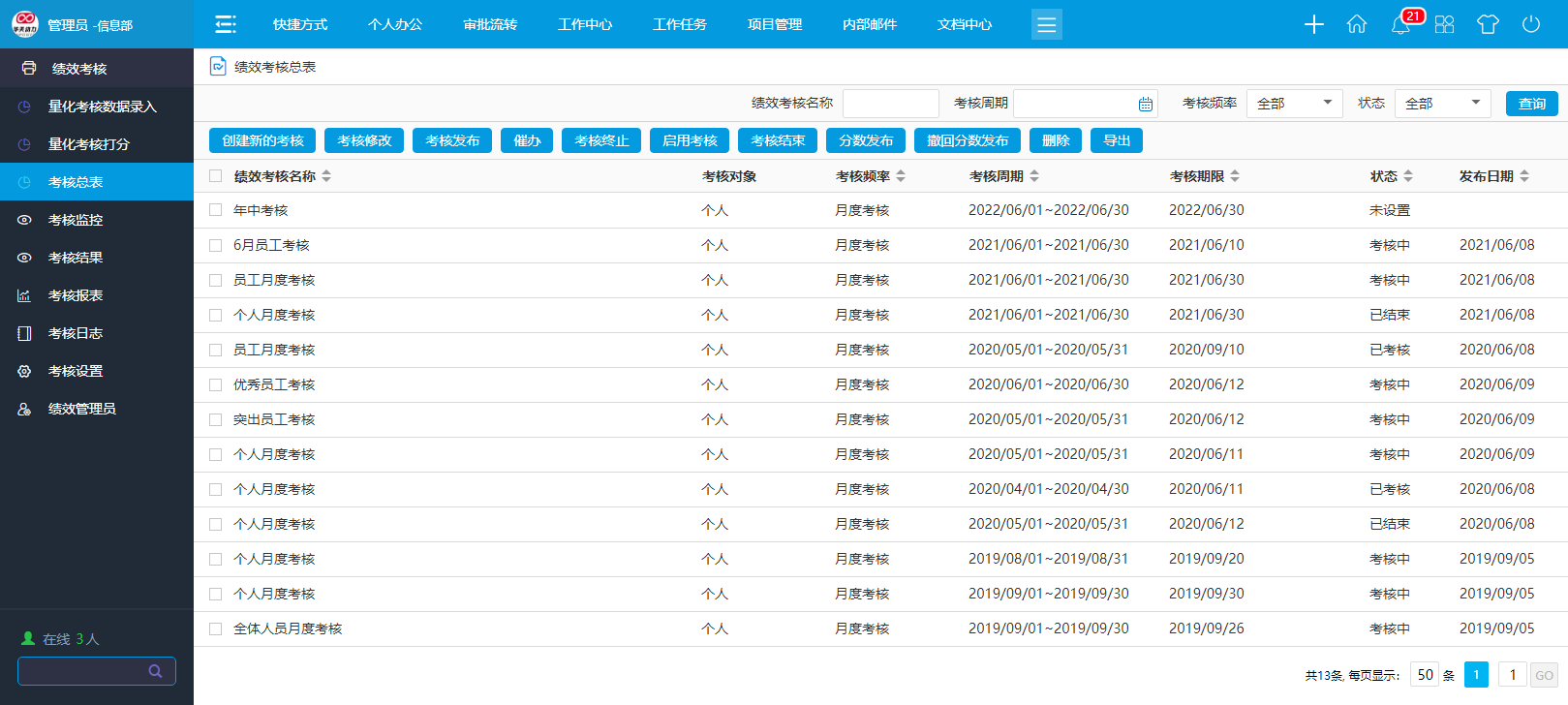
华天动力协同OA系统还可以自动统计后台数据,通过折线、条形图、双轴图等各种报表展示考核数据,并支持用户根据绩效考核名称、考核周期、考核频率、状态进行查询,让管理者更直观更客观的了解考核状态和考核结果,轻松实现绩效分数的纵向和横向的对比。领导可以通过纵向的对比,了解员工是否有所成长、工作状态如何等。领导还可以查看同岗位员工的绩效分数,进行横向的对比,从而了解员工之间的差距。

五、绩效关联薪酬系统,避免不及时
绩效考核管理的重点不在考核,而是利用考核进行管理,本质上绩效考核体系是一个激励机制,即把一个人的部分所得和他的业绩挂上钩。但是传统的管理办法绩效考核和工资挂钩特别麻烦,需要财务根据细则做大量的统筹计算的工作。往往考核结束后的奖励来的并不及时。
在华天动力协同OA系统中,通过绩效考核与薪酬系统的联动就能够轻松实现快速涨薪,一旦确定绩效考核级别,系统就能把相关数据自动关联到薪资里,进行核算,大大减少了人力资源的工作量,收入和绩效时时挂钩,能很及时的刺激员工的工作积极性,提高工作效率。

华天动力协同OA系统绩效考核,通过数字化流程,科学规划考核标准,多维度多层级考核,数字测评自动归档,自动统计数据报表,绩效关联薪酬系统,避免了传统绩效考核中存在的笼统化、片面化、不工作、不客观、不及时的问题,实实在在考核到位,有效刺激了员工的积极性,提高了企业工作效率。




