关于我们

陕西省西安市高新区科技二路

销售电话 : 181 0918 2006

顾问电话 : 181 9223 0651

客服电话 : 181 9223 0651

技术支持 : 2576802135

联系邮箱 : sales@qioa.cn

bg-img
资讯 资讯

资讯

20年专注OA工作流管理,华天动力协同OA办公系统是“智慧协同”的创造者

当前位置 : 首页 > 资讯 > 公司新闻

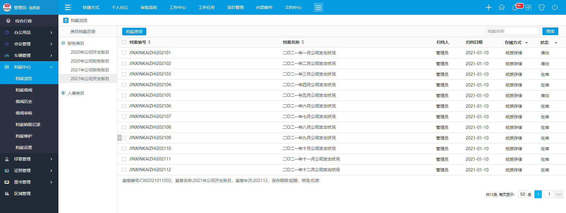
事业单位用华天动力OA协同办公系统,实现规范化数字档案管理

发布于 : 2022-09-15 19:37:32

阅读 327

联系电话

181 0918 2006

在线留言

关注我们

weixin

TOP

提交您的需求,我们将尽快与您联系。

完善您的信息,我们专业团队为您提供服务!

公司名称 *

姓名/称呼 *

手机号码 *

电子邮箱 *

需求/留言 *